行业知识

保护功能投退硬压板、软压板与控制字

2022-12-16 15:11:55 千亿体育在线注册,千亿体育(中国)

保护功能投退硬压板、软压板与控制字

运维人员在改变二次设备状态的倒闸操作过程中,通过操作硬压板、软压板与控制字实现,其中控制字的改变由二次检修人员协助。

这三者的任何一个地方发生错误,会影响保护功能的正确投退,从而引发保护误动或拒动的后果。

二次保护功能实现的方法:通过保护计算机程序对输入的电压电流模拟量、断路器位置开关量,保护功能开关量等进行计算,输出报警信号、跳闸命令、故障信息等。

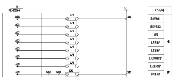
“差动功能”数字量参与差动保护逻辑计算的框图如下

图片关键词

功能硬压板在前文已有介绍,通过开关量输入回路告诉保护装置某个功能投退。

图片关键词

功能投退反映到软件上的,自然也可以直接在装置程序内设置这个功能的投退,也就是对应的功能软压板

图片关键词

(1)这里都可以看出硬压板和软压板是一对一的(沟通三跳转换把手和硬压板功能一样),他们采用“与门”逻辑,也就是硬压板投入,软压板置1,该功能才投入,否则退出。

(2)唯一特殊的是“停用重合闸”,用的“或门”逻辑,硬压板、软压板、控制字只要有一个1,停用重合闸功能就投入,否则退出

(3)为什么硬压板、软压板一一对应,为什么用“与门”逻辑,为什么“停用重合闸”用“或门”逻辑

答案很简单:就是这么规定的。


这也是为什么要六统一,九统一的原因,统一规定后,所有保护装置厂家必须这么设置不纠结、不折磨运维检修人员了。

(4)软硬压板功能一样,是不是重复了,能不能不用硬压板?

智能保护已经取消了这些功能硬压板(只剩“远方操作”、“保护装置检修”两个)


(5)为什么常规保护还不取消

也是这么规定的。我猜保持和前期的一致性吧。


控制字又是什么

(1)控制字是对保护功能的进一步细分,比如距离保护还有更多的功能需要设置,如下

图片关键词

(2)控制字和硬压板、软压板也是“与门”逻辑,比如:距离保护硬压板投入,软压板置1,距离Ⅱ段控制字置1,“距离Ⅱ段”功能才算投入,否则退出。

图片关键词

(3)为什么它叫控制字,系统把每4位二进制换算成1位16进制字符,比如1101换算成16进制就是D(13),这样上面定值单上28个二进制“1101111111100110111101000100”换算成7位16进制数就是“DFE6F44”,这样核对定值单是不是都简单很多了?


220保护定值单还会写16进制,500定值单没有

图片关键词

可以思考一下,

(1)常规站正常投退保护功能是不去操作软压板和控制字的,为什么?

(2)但是也有例外,500kV开关过流保护(充电保护)对应的软压板、控制字的状态是置0的。这样,平时即使误投过流保护硬压板,功能也不会启用。

如果调度发令启用“充电保护”这样的功能,则需要二次检修人员修改软压板和控制字。

图片关键词

(3)而六统一保护的220kV母联、分段保护的充电过流软压板和控制字正常是置1的……因此误投硬压板风险较高




首页
产品
新闻
联系